点击图片可看下一张
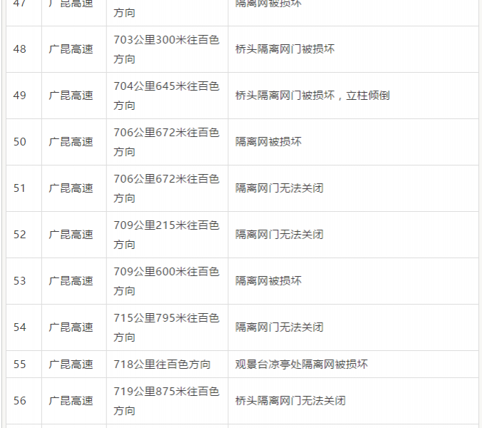
百色这59个路段存在严重安全隐患,走过路过要小心! - 靖西市·靖西网
两指拖放可以放大浏览图片,下方有翻页按钮
下一张 共有7张回到帖子 上一张
JingXi.net © 2014 靖西网